【理财篇】期限灵活,更具普惠性
个人养老金制度在先行城市启动实施已满三个月,随着近期首批7只个人养老金理财产品发布,个人养老金四类产品全部出炉。目前,工银理财、农银理财和中邮理财的7只个人养老金理财产品均已正式发售。

对比其他三类产品,个人养老金理财类产品有何优势?普益标准研究员王高鹏在接受记者采访时分析指出,从风险收益特征来看,理财产品的收益水平和风险水平居于储蓄存款与公募基金之间,产品以固定收益类为主,整体风险仍较低。整体而言,银行理财产品由于较低的风险和较好的资产管理能力,能满足大部分客户的养老需求,且依托母行的渠道优势,认知度和接受度高,客户群体庞大。
另外,相较于普通养老理财产品,首批个人养老金理财产品在业绩比较基准、费率结构、税收政策、风险保障机制、流动性支持等方面有一定优势。王高鹏表示,目前发行的个人养老理财都是基于账户制-个人养老资金专属账户,具有随缴随存,赎回灵活的特征,个人养老金产品还具有费率优惠。与普通银行理财产品相比,个人养老理财产品投资风格稳定、投资策略成熟、运作合规稳健。
“通过个人养老专属资金账户购买份额需设置单独的份额类别,享受手续费和税收的双重优惠,且不收取超额业绩报酬,更具普惠性。”王高鹏表示。
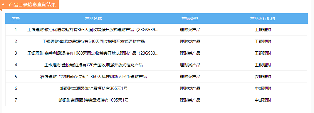
具体来看,7只个人养老金理财产品发行期限均在3年以下,最短可持有1年。其中有6只为固定收益类,1只为混合类。业绩比较基准在3.65%至5.75%之间。
记者梳理发现,从业绩比较基准来看,工银理财4只个人养老金理财产品的业绩比较基准(年化)分别为最短持有期1年3.70%-4.20%,最短持有期540天4.10%-4.60%,最短持有期720天4.40%-4.90%,最短持有期1080天5.25%-5.75%。中邮理财的两款个人养老金理财产品业绩比较基准(年化)分别为最短持有期1年3.65%-4.65%,最短持有期3年3.85%-4.75%。农银理财发售的首期个人养老金理财产品期限为360天,业绩比较基准(年化)为4.05%。
截至2月21日净值披露,上述7只产品净值均为正。其中工银理财“工银理财·颐享核心优选最短持有365天固收增强开放式理财产品”实现年化收益2.73%。费率方面,中邮理财的两款个人养老金理财产品销售手续费和固定管理费下调至0.05%。
王高鹏表示,个人养老金理财产品不仅延续和强化了“长期、稳健、普惠”三大养老属性,还具有运作安全、成熟稳定、标的规范、侧重长期保值等个人养老金产品的基本特征。普通银行理财产品则相对灵活,产品类型、资金投向更加多元。
对于养老理财产品的选择,普益标准研究员王丽婷分析指出,风险方面,目前存续的养老理财产品底层资产多以配置债券等固收类资产为主,辅以小比例股票等权益资产增厚收益,虽然容易受到债市波动的影响,但长期运作可以在一定程度上平滑风险,加上权益资产的仓位控制较为严格,该类产品的整体风险以中低为主。期限方面,该类产品多以5年期的固收产品为主,期限偏长。
“综上两方面因素,这类产品除了较为适合具有养老需求的投资者外,因其相对于同等风险的产品具有一定的收益优势,对于以财富保值增值为目标、不追求资金流动性的保守型或稳健型投资者来说是不错的选择。”王丽婷表示。









评论